This page needs JavaScript activated to work. Tocatoare laterală cu cutie interioară pentru tractor fructifer și terasamente - Mod. LEO-140
Transport gratuit în mai mult de 24 de țări europene

Program: 09:00–16:30. Livrare gratuită în interiorul UE cu transport standard. Livrare estimată în 20–25 de zile de la confirmarea comenzii – notificare telefonică la expediere.

Chuck Norris îți oferă 5%REDUCEREde la al doilea produs VEZI DETALII

Tocatoare laterală cu cutie interioară pentru tractor fructifer și terasamente - Mod. LEO-140

4.6

1322 recenzii

Disponibil
COD. LEO140PTO
EAN 8053470231032
Vizualizați toate detaliile.
TOTAL
2.787,00TVA inclus
Transport gratuit!

VIDEO
Test de teren
Test de teren

DETALII

Tocatoare laterală cu lățimea de tăiere de 1400 mm, 452kg, cu cutie internă pentru tractoare de livadă și terasamente DELEKS® LEO-140 Concasor cu cardan de 1800 mm


APLICARE

LEO-140  Tocător  diguri cu ciocane serie medie.

Ideal pentru lucrări municipale, margini rutiere, șanțuri, diguri și teren înclinat în general.

Specificații pentru tractoare pe roți sau pe șenile, putere medie 40-70 CP, precum New Holland TK4000, T3030, T4F, John Deere, Landini Mistral, Deutz-Fahr, Lamborghini Ego, McCormick, Same Solaris sau Orchard etc.pentru lucrări pe plat sau în pantă.

Deplasarea și înclinarea hidraulică (2 pistoane 4 conducte hidraulice), Cardan CE de 1800mm.

Conformitate directivei CE mașini. Garanție 2 ani.


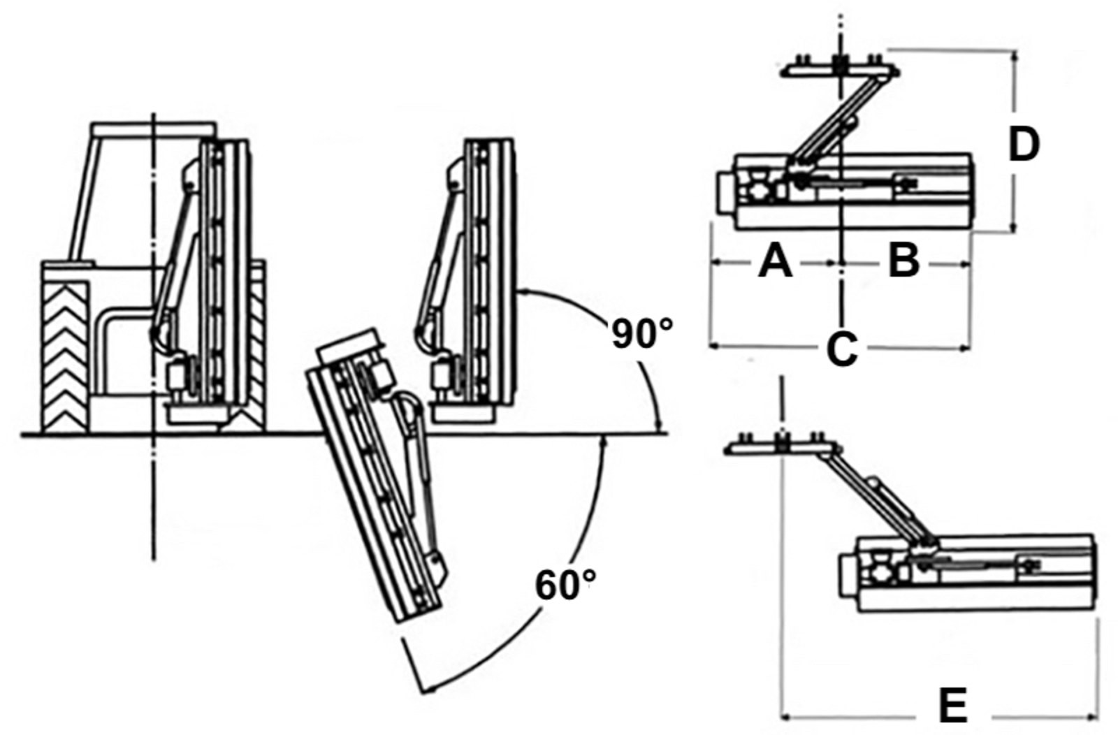
DIMENSIUNI

a: 750 mm

b: 770 mm

c: 1520 mm

d: 1550 mm

e: 2000 mm

 

AVANTAJE

Din formă este înclinată, curăță marginile drumurilor și digurile; în afara formei și pe verticală, reduce tufișurile și gardurile vii; în podgorie și în livadă, datorită multiplicatorului plasat intern, acesta poate reintra complet în forma tractorului, permițându-i să funcționeze în spații înguste, orizontal și intre rânduri.

Multiplicator GB Bologna Fabricat în Italia, cu roată liberă, 3 ani garanție.

Rulmenți cu rotor SKF.

Atac de trei puncte cu sistem Anti-șoc.

Ciocane groase, concepute pentru a pulveriza iarbă și lăstari de viță de vie și plantații de măslini, arbuști, etc. până la 4-5 cm cm în diametru.

Cilindru spate mărit, cu racleta de noroi.

Rotor cu echilibrare electronică.

Cilindrul din spate și schiuri laterale vă permit să reglați înălțimea de tăiere.

Reglarea exterioară a curelelor și dispozitivul de tensionare reglabil.

Cardan CE inclus.

  

  

CARACTERISTICI

Caracteristici Unità metrici Unità US
Lățimea de tăiere 1392.0 mm 4.56 ft
Lățimea totală 1520.0 mm 4.98 ft
Inaltime de taiere min / max 10.0 - 45.0 mm 0.4 - 1.77 in
Greutatea 452.0 kg 996.5 lb
Înălțime totală 850.0 mm 2.79 ft
Puterea tractoarelor 40 - 70 Cp 40 - 70 Hp
Atac de 3 puncte Cat. 1-2 (ø 19.0-22.0mm / 25.0-28.0mm) Cat. 1-2 (ø 19.0-22.0mm / 25.0-28.0mm)
Position of the gearbox Internal
Poziția multiplicatorului Intern
Сapotă înălţime 390.00 mm 15.4 in
Distanța dintre cele 2 puncte inferioare 730.0 - 960.0 mm 28.74 - 37.80 in
Număr de ciocane 20 20
Diametrul maxim mărunțire 40.0 - 50.0 mm 1.57 - 1.97 in
Lungimea totală 1550.0 mm (închis) 5.08 ft (closed)
Distanta multiplicator de la sol 490.0 mm 19.3 in
Grosimea cadrului 4.0 mm 0.16 in
Grosimea laturilor cadrului 6.0 mm 0.23 in
Grosimea sănii laterale 6.0 mm 0.23 in
Transmisie: Tip V-Curele V-Curele
Transmisie: Multiplicator GB Bologna (Italy) (Garanție de 3 ani) GB Bologna (Italy) (Garanție de 3 ani)
Transmisie: PTO 540 r/min 540 r/min
Transmisie: Direcția de rotație Partea dreapta Partea dreapta
Transmisie: Roată liberă
Transmisie: Rotația rotor 2300 rpm 2300 rpm
Transmisie: Uleiul din multiplicator Da / SAE 120 - ISO 72925 Da / SAE 120 - ISO 72925
Transmisie: scripete superior ø 170.0 mm 6.70 in
Transmisie: scripete inferior ø 120.0 mm 4.72 in
Transmisie: numărul de centuri 4 4
Transmisie: Dimensiunile curelelor 17x1026 17x1026
Rotor: Diametru 108.0 mm 4.25 in
Rotor: Rulmenți SKF 6207 SKF 6207
Rotor: echilibrare Electronic Electronic
Rotor: Grosimea plăcii 8.0 mm 0.31 in
Ciocane: Greutate 820.0 g 29.0 oz
Ciocan: gaură ø 15.0 mm 0.6 in
Ciocan: lățimea bazei 82.0 mm 3.23 in
Ciocan:Lățimea capului 45.0 mm 1.77 in
Ciocan:Extensie diagonală 3.74 in
Сiocan:Extensie diagonală 95.0 mm
Cilindru spate: diametru 140.0 mm 5.51 in
Cilindru spate: grosimea tablei 5.0 mm 0.2 in
Cilindru spate: tipul și mărimea rulmenților UC205 UC205
Deplasarea și Dimensiuni Vedeți imagini Vedeți imagini
ø Cilindru hidraulic A . 2.75 - 1.18 in
ø Cilindru hidraulic A. 70.0 - 30.0 mm
ø Cilindru hidraulic B. 65.0 - 25.0 mm 2.56 - 1.0 in
Presiunea de descărcare min./max 120 - 150 bar 120 - 150 bar
Flux optim de ulei 18 - 22 l/min 18 - 22 l/min
Furtunuri hidraulice WP 400 Bar, 1/2" Agri Standard WP 400 Bar, 1/2" Agri Standard
Arbore cardanic CE 5x1800 mm CE 5x1800 mm
Capotă lungime 630.0 mm 24.8 in
Mărimea ambalajului pentru expediere 1580.0*800.0*760.0 mm 5.18*2.62*2.50 ft

Certificări

SSAB Laser 355MC   Descărcați PDF
ARVEDI / TUBINDUSTRIA: Certification   Descărcați PDF

Fișe tehnice

Shell Spirax S2 A 80W-90: Specifications   Descărcați PDF
DETALII
CARACTERISTICI
Certificări
Fișe tehnice

DETALII

ÎNCHIDE

Tocatoare laterală cu lățimea de tăiere de 1400 mm, 452kg, cu cutie internă pentru tractoare de livadă și terasamente DELEKS® LEO-140 Concasor cu cardan de 1800 mm


APLICARE

LEO-140  Tocător  diguri cu ciocane serie medie.

Ideal pentru lucrări municipale, margini rutiere, șanțuri, diguri și teren înclinat în general.

Specificații pentru tractoare pe roți sau pe șenile, putere medie 40-70 CP, precum New Holland TK4000, T3030, T4F, John Deere, Landini Mistral, Deutz-Fahr, Lamborghini Ego, McCormick, Same Solaris sau Orchard etc.pentru lucrări pe plat sau în pantă.

Deplasarea și înclinarea hidraulică (2 pistoane 4 conducte hidraulice), Cardan CE de 1800mm.

Conformitate directivei CE mașini. Garanție 2 ani.


DIMENSIUNI

a: 750 mm

b: 770 mm

c: 1520 mm

d: 1550 mm

e: 2000 mm

 

AVANTAJE

Din formă este înclinată, curăță marginile drumurilor și digurile; în afara formei și pe verticală, reduce tufișurile și gardurile vii; în podgorie și în livadă, datorită multiplicatorului plasat intern, acesta poate reintra complet în forma tractorului, permițându-i să funcționeze în spații înguste, orizontal și intre rânduri.

Multiplicator GB Bologna Fabricat în Italia, cu roată liberă, 3 ani garanție.

Rulmenți cu rotor SKF.

Atac de trei puncte cu sistem Anti-șoc.

Ciocane groase, concepute pentru a pulveriza iarbă și lăstari de viță de vie și plantații de măslini, arbuști, etc. până la 4-5 cm cm în diametru.

Cilindru spate mărit, cu racleta de noroi.

Rotor cu echilibrare electronică.

Cilindrul din spate și schiuri laterale vă permit să reglați înălțimea de tăiere.

Reglarea exterioară a curelelor și dispozitivul de tensionare reglabil.

Cardan CE inclus.

  

  

CARACTERISTICI

ÎNCHIDE
Caracteristici Unità metrici Unità US
Lățimea de tăiere 1392.0 mm 4.56 ft
Lățimea totală 1520.0 mm 4.98 ft
Inaltime de taiere min / max 10.0 - 45.0 mm 0.4 - 1.77 in
Greutatea 452.0 kg 996.5 lb
Înălțime totală 850.0 mm 2.79 ft
Puterea tractoarelor 40 - 70 Cp 40 - 70 Hp
Atac de 3 puncte Cat. 1-2 (ø 19.0-22.0mm / 25.0-28.0mm) Cat. 1-2 (ø 19.0-22.0mm / 25.0-28.0mm)
Position of the gearbox Internal
Poziția multiplicatorului Intern
Сapotă înălţime 390.00 mm 15.4 in
Distanța dintre cele 2 puncte inferioare 730.0 - 960.0 mm 28.74 - 37.80 in
Număr de ciocane 20 20
Diametrul maxim mărunțire 40.0 - 50.0 mm 1.57 - 1.97 in
Lungimea totală 1550.0 mm (închis) 5.08 ft (closed)
Distanta multiplicator de la sol 490.0 mm 19.3 in
Grosimea cadrului 4.0 mm 0.16 in
Grosimea laturilor cadrului 6.0 mm 0.23 in
Grosimea sănii laterale 6.0 mm 0.23 in
Transmisie: Tip V-Curele V-Curele
Transmisie: Multiplicator GB Bologna (Italy) (Garanție de 3 ani) GB Bologna (Italy) (Garanție de 3 ani)
Transmisie: PTO 540 r/min 540 r/min
Transmisie: Direcția de rotație Partea dreapta Partea dreapta
Transmisie: Roată liberă
Transmisie: Rotația rotor 2300 rpm 2300 rpm
Transmisie: Uleiul din multiplicator Da / SAE 120 - ISO 72925 Da / SAE 120 - ISO 72925
Transmisie: scripete superior ø 170.0 mm 6.70 in
Transmisie: scripete inferior ø 120.0 mm 4.72 in
Transmisie: numărul de centuri 4 4
Transmisie: Dimensiunile curelelor 17x1026 17x1026
Rotor: Diametru 108.0 mm 4.25 in
Rotor: Rulmenți SKF 6207 SKF 6207
Rotor: echilibrare Electronic Electronic
Rotor: Grosimea plăcii 8.0 mm 0.31 in
Ciocane: Greutate 820.0 g 29.0 oz
Ciocan: gaură ø 15.0 mm 0.6 in
Ciocan: lățimea bazei 82.0 mm 3.23 in
Ciocan:Lățimea capului 45.0 mm 1.77 in
Ciocan:Extensie diagonală 3.74 in
Сiocan:Extensie diagonală 95.0 mm
Cilindru spate: diametru 140.0 mm 5.51 in
Cilindru spate: grosimea tablei 5.0 mm 0.2 in
Cilindru spate: tipul și mărimea rulmenților UC205 UC205
Deplasarea și Dimensiuni Vedeți imagini Vedeți imagini
ø Cilindru hidraulic A . 2.75 - 1.18 in
ø Cilindru hidraulic A. 70.0 - 30.0 mm
ø Cilindru hidraulic B. 65.0 - 25.0 mm 2.56 - 1.0 in
Presiunea de descărcare min./max 120 - 150 bar 120 - 150 bar
Flux optim de ulei 18 - 22 l/min 18 - 22 l/min
Furtunuri hidraulice WP 400 Bar, 1/2" Agri Standard WP 400 Bar, 1/2" Agri Standard
Arbore cardanic CE 5x1800 mm CE 5x1800 mm
Capotă lungime 630.0 mm 24.8 in
Mărimea ambalajului pentru expediere 1580.0*800.0*760.0 mm 5.18*2.62*2.50 ft

Certificări

ÎNCHIDE
SSAB Laser 355MC   Descărcați PDF
ARVEDI / TUBINDUSTRIA: Certification   Descărcați PDF

Fișe tehnice

ÎNCHIDE
Shell Spirax S2 A 80W-90: Specifications   Descărcați PDF

Opțional

4 curele LEO
Preț special opțional -9,00 90,00TVA inclus 81,00TVA inclus
Disponibil


10 Ciocane T
Preț special opțional -12,60 126,00TVA inclus 113,40TVA inclus
Disponibil

TIGRE/PUMA/RINO/LEO/INTERFILA (2021>)

10 bolțuri + piulițe T
Preț special opțional -6,50 65,00TVA inclus 58,50TVA inclus
Disponibil

PUMA/TIGRE/RINO/LEO

Ace de rezervă cat. 1-2
Preț special opțional -6,30 63,00TVA inclus 56,70TVA inclus
Nu este disponibil Anunță-mă

ø 19.0/22.0 + 25.0/28.0 mm

10 x 3 Cuțite T
Preț special opțional -13,40 134,00TVA inclus 120,60TVA inclus
Nu este disponibil Anunță-mă

PUMA/TIGRE/RINO/LEO

Adaptor unificat priza putere
Preț special opțional -5,00 50,00TVA inclus 45,00TVA inclus
Disponibil


Înlocuire cu cardan homocinetic 1800mm
Preț special opțional -30,90 309,00TVA inclus 278,10TVA inclus
Nu este disponibil Anunță-mă

1800.0 -> 2500.0 mm

70.85 -> 98.45 in

Tija superioară 680
Preț special opțional -7,10 71,00TVA inclus 63,90TVA inclus
Disponibil

Cat. 2-2

680.0-930.0 mm

Tija superioară 730
Preț special opțional -9,50 95,00TVA inclus 85,50TVA inclus
Disponibil

Cat. 2-2

730.0-980.0 mm

4 curele LEO
Preț special opțional -9,00 90,00TVA inclus 81,00TVA inclus
Disponibil


10 Ciocane T
Preț special opțional -12,60 126,00TVA inclus 113,40TVA inclus
Disponibil

TIGRE/PUMA/RINO/LEO/INTERFILA (2021>)

10 bolțuri + piulițe T
Preț special opțional -6,50 65,00TVA inclus 58,50TVA inclus
Disponibil

PUMA/TIGRE/RINO/LEO

Ace de rezervă cat. 1-2
Preț special opțional -6,30 63,00TVA inclus 56,70TVA inclus
Nu este disponibil Anunță-mă

ø 19.0/22.0 + 25.0/28.0 mm

10 x 3 Cuțite T
Preț special opțional -13,40 134,00TVA inclus 120,60TVA inclus
Nu este disponibil Anunță-mă

PUMA/TIGRE/RINO/LEO

Adaptor unificat priza putere
Preț special opțional -5,00 50,00TVA inclus 45,00TVA inclus
Disponibil


Înlocuire cu cardan homocinetic 1800mm
Preț special opțional -30,90 309,00TVA inclus 278,10TVA inclus
Nu este disponibil Anunță-mă

1800.0 -> 2500.0 mm

70.85 -> 98.45 in

Tija superioară 680
Preț special opțional -7,10 71,00TVA inclus 63,90TVA inclus
Disponibil

Cat. 2-2

680.0-930.0 mm

Tija superioară 730
Preț special opțional -9,50 95,00TVA inclus 85,50TVA inclus
Disponibil

Cat. 2-2

730.0-980.0 mm

Recenzii

Ce spun clienții noștri despre noi